Please notify me when {{ product }} becomes available - {{ url }}:
Notify me when this product is available:
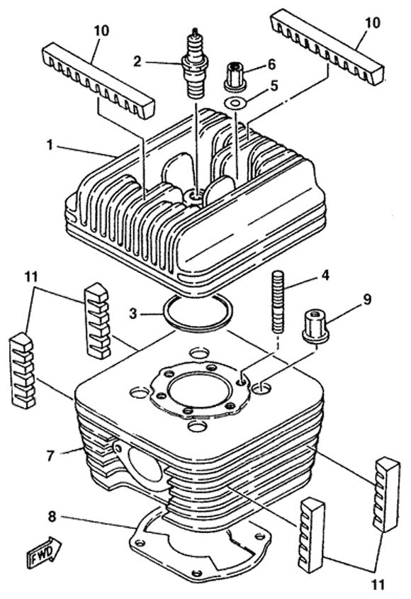
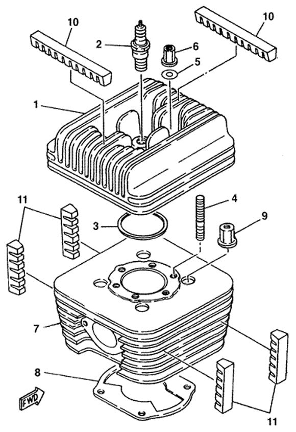
KT100 New Style 787 Cylinder
#7 on diagramAvailable as a bare cylinder or cylinder with head studs, exhaust studs and cylinder vibration rubbers
Collections: Cylinders, Base Gaskets, Cylinder Studs, Power Valve Parts, Engines, Products, Top End, Yamaha KT100 Head & Cylinder Parts