Please notify me when {{ product }} becomes available - {{ url }}:
Notify me when this product is available:
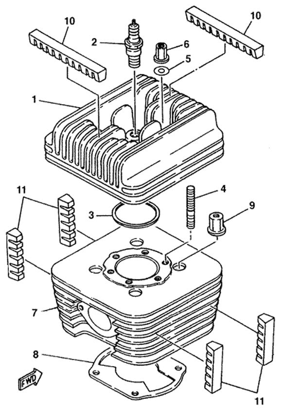
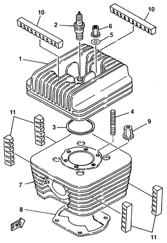
KT100 8mm Steel Nut
#6 and #9 on diagram
Collections: Cylinder Heads, Head Gaskets, Head Nuts, Engines, Products, Top End, Yamaha KT100 Head & Cylinder Parts