Please notify me when {{ product }} becomes available - {{ url }}:
Notify me when this product is available:
Quantity Discount Available
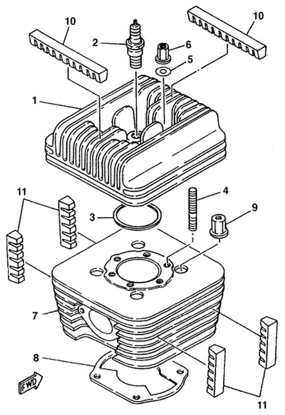
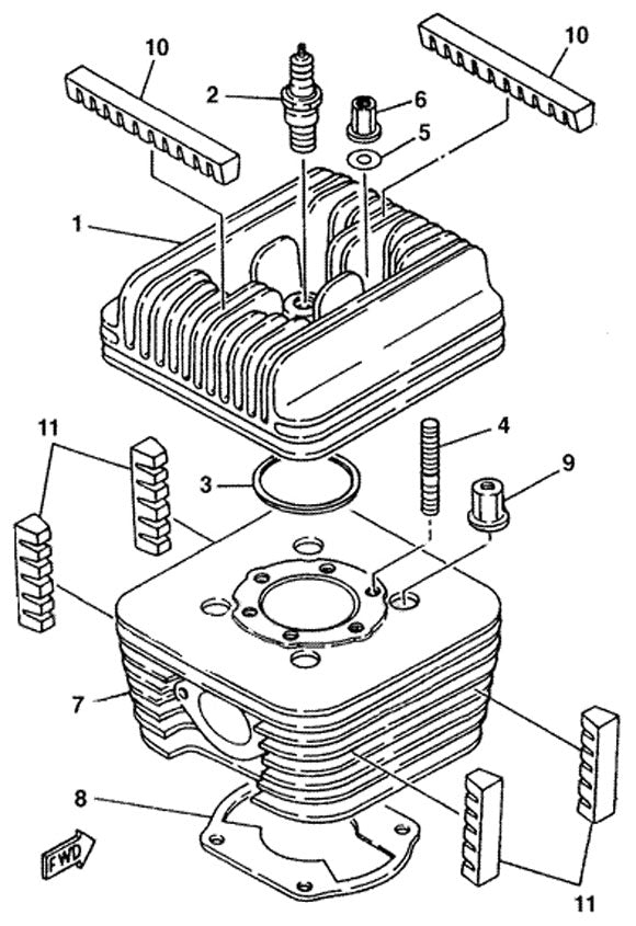
#8 on Diagram
Collections: Cylinders, Base Gaskets, Cylinder Studs, Power Valve Parts, Engines, Products, Top End, Yamaha KT100 Head & Cylinder Parts