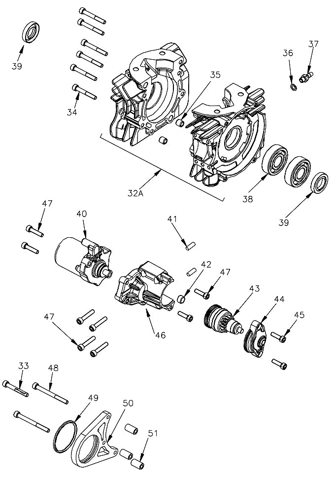
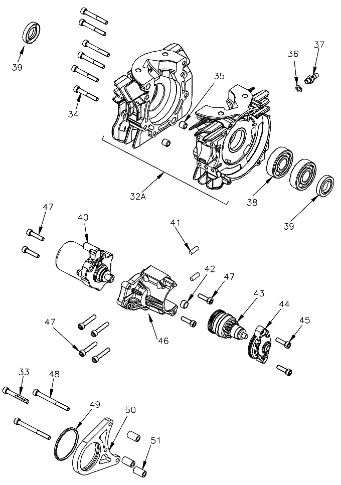
48. W510/65 Vortex Mini Rok SHCS M6x65

Mini Rok Socket Head Bolt

6mm x 65mm Socket Head Cap Screw Bolt