Please notify me when {{ product }} becomes available - {{ url }}:
Notify me when this product is available:
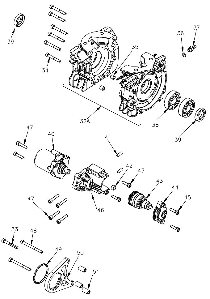
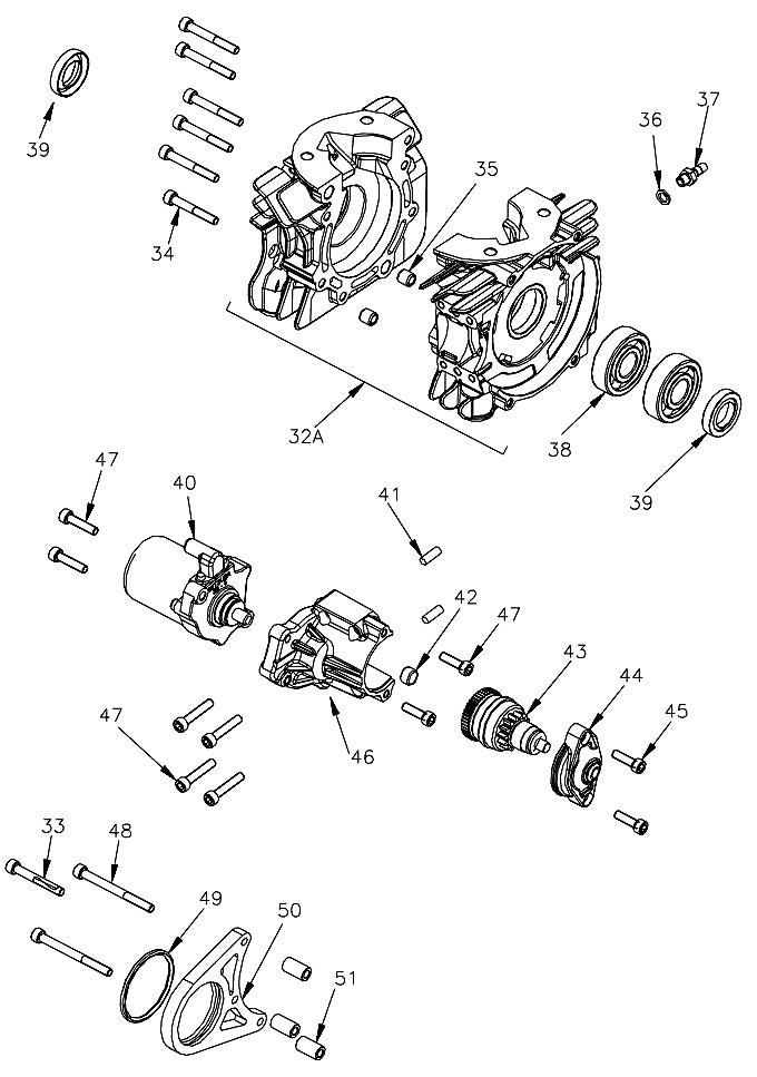
Mini Rok Case Fitting
Collections: Bottom End, Crank Cases, Cranks, Rod Assembly, Main Bearings, Seals, Crank Pin, Reed Cage, Engines, Products, Vortex Mini Rok Crankcase, Starter Parts