Please notify me when {{ product }} becomes available - {{ url }}:
Notify me when this product is available:
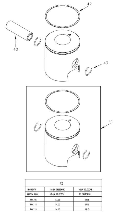
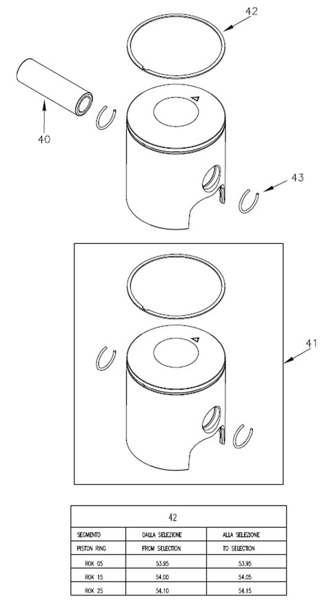
Collections: Engines, Pistons, Rings, Wrist Pins, Circlips, Top Rod Bearings, Products, Top End, Vortex Rok GP Piston & Parts