Please notify me when {{ product }} becomes available - {{ url }}:
Notify me when this product is available:
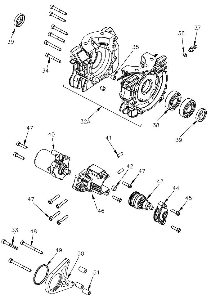
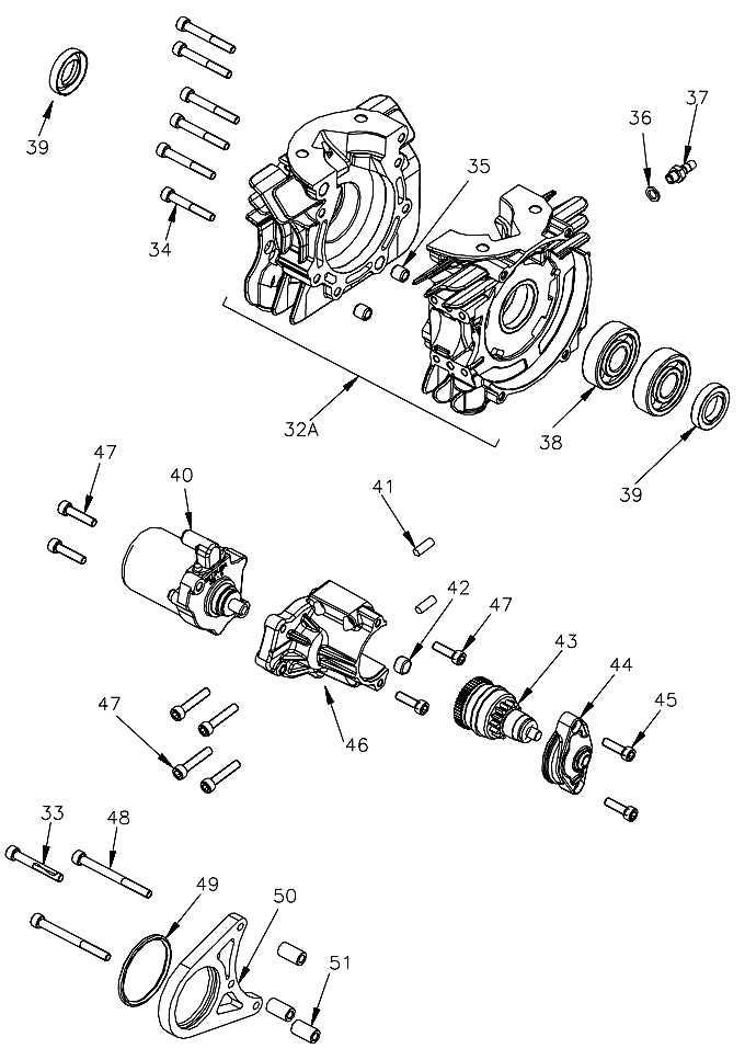
Mini Rok Starter
Collections: Eligible for Coupon, Engines, External Starters, Onboard Starters, Brush Kits, Bendix, Products, Vortex Mini Rok Crankcase, Starter Parts