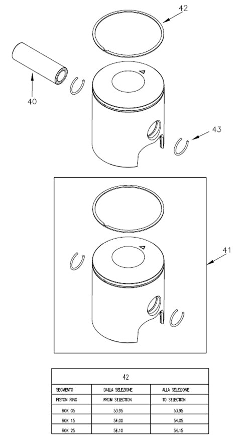
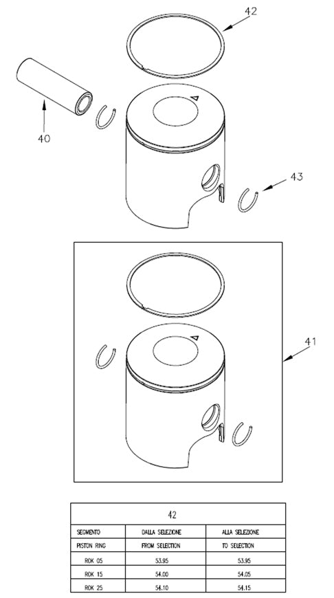
40. W270/ROK Vortex Rok GP Piston Wrist Pin

W270/ROK Rok GP Piston Pin