Please notify me when {{ product }} becomes available - {{ url }}:
Notify me when this product is available:
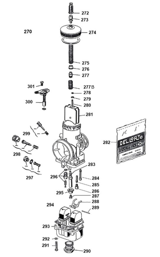
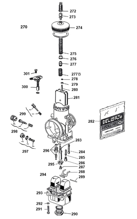
W1576003 Vortex Rok GP Dellorto Carburetor Float
Collections: Carburetors, Engines, Products, Vortex Rok GP Dellorto Carburetor Parts