Please notify me when {{ product }} becomes available - {{ url }}:
Notify me when this product is available:
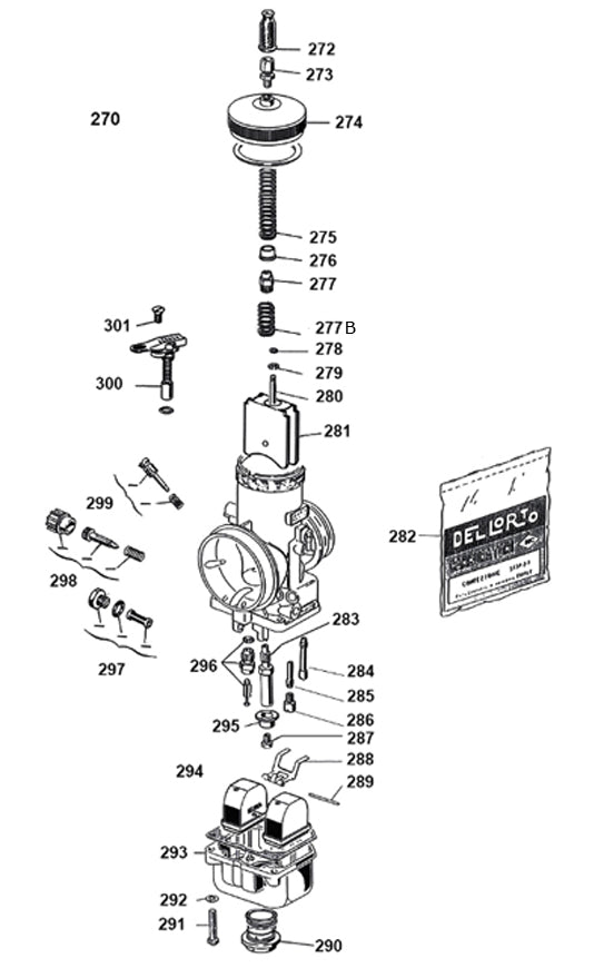
Select Jet Size, Sold Individually
W6413160 Vortex Rok GP Dellorto Main Jet for Carburetor
Collections: Carburetors, Engines, Products, Vortex Rok GP Dellorto Carburetor Parts