Please notify me when {{ product }} becomes available - {{ url }}:
Notify me when this product is available:
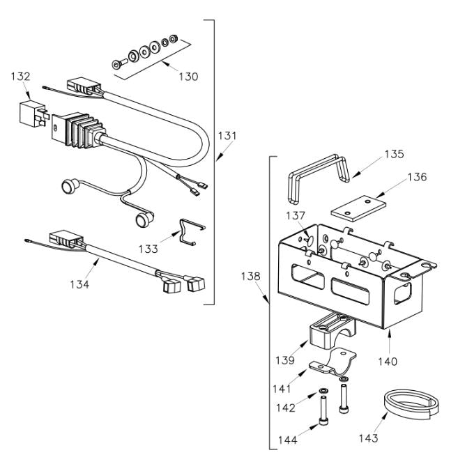
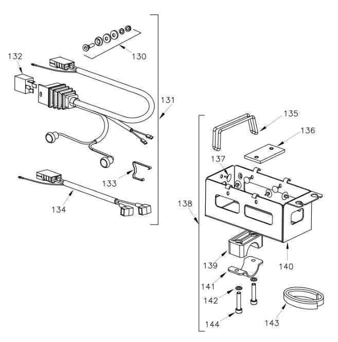
Rok VLR Washer 6.4mm x 11mm x 1.5mm
Collections: Electrical, Engines, Products, Vortex Rok VLR Wiring Harness Parts, Wiring Harness, Battery Support Box, Harness Adapters, Stators, Coils, Flywheels