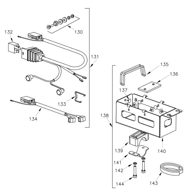
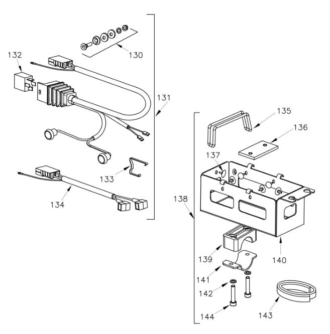
141. 0274.A3 Vortex Rok VLR Steel Bottom Clamp for Battery Support Box

Rok VLR Bottom Steel Clamp