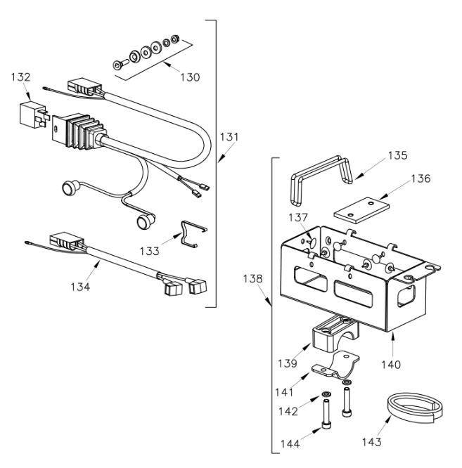
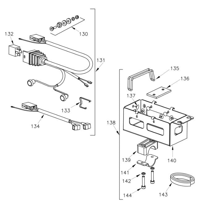
133. W2103/ROK3 Vortex Rok VLR Wiring Harness Clip

Rok VLR Wiring Harness Fixing Clip