Please notify me when {{ product }} becomes available - {{ url }}:
Notify me when this product is available:
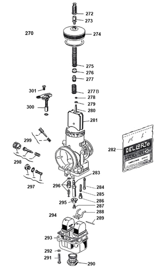
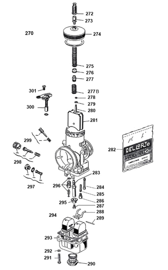
W16309 Vortex Rok GP Dellorto Carburetor Slide Top Cap
Collections: Carburetors, Eligible for Coupon, Engines, Products, Vortex Rok GP Dellorto Carburetor Parts